S312型剛性防水套管
S312型剛性防水套管性能:1.S312型剛性防水套管穿墻處如遇非混凝土墻壁時,應改用混凝土墻壁,其澆注范圍應比翼環(huán)直徑(D4)大200,而且必須將套管一次澆固于墻內,套管內的填料應緊密搗實。2.S312型剛性防水套管穿管…
![]() |
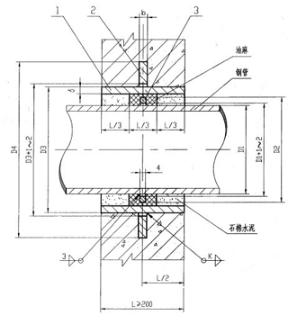
S312型剛性防水套管性能:
1. S312型剛性防水套管穿墻處如遇非混凝土墻壁時,應改用混凝土墻壁,其澆注范圍應比翼環(huán)直徑(D4)大200,而且必須將套管一次澆固于墻內,套管內的填料應緊密搗實。
2. S312型剛性防水套管穿管處混凝土墻厚應不小于200,否則應使墻壁一邊或兩邊加厚。加厚部分的直徑至少為D4+200。
3. S312型剛性防水套管焊接結構尺寸公差與形位公差按照JB/T5000.3-1998執(zhí)行。焊接采用手工電弧焊,焊條型號E4303,牌號J422。焊縫坡口的基本形式與尺寸按照GB985-88執(zhí)行。
4.當套管(件1)采用卷制成型,周長允許偏差為:D3≤600,±2,D3>600,±0.0035 D3 。
5. S312型剛性防水套管的重量以L=200計算,當L>200時,應另行計算。
6.剛性防水套管適用于管道穿墻處不承受管道振動和伸縮變形的構(建)筑物,對于地震設防要求的地區(qū),如采用剛性防水套管,應在進入池壁或建筑物外墻的管道上就近設置柔性連接,A型適用于鋼管。

防水套管選型或加工時,應滿足管路設計工況及安裝的要求,必要時,防水套管的穿墻壁厚、軸向推力等應經結構工程師確認。
防水套管的安裝位置應盡量避開沉降縫、伸縮縫或二個較近距離的構(建)筑物。特殊需要時,必須經由結構工程師選用。
當穿墻管的材質和外徑等超出本圖集范圍,應注意對防水套管的結構形式、尺寸及縫隙內采用的填料等進行必要的調整和修正。
b型柔性防水套管
a型柔性防水套管
07FS02防護密閉套管
伸縮接頭在使用中如何保養(yǎng)
安裝正確的情況下橡膠接頭為什么會開裂
橡膠接頭 撓性橡膠接頭…
橡膠接頭、卡箍橡膠接頭、大翻邊橡膠接頭新躍橡膠接頭廠家,專業(yè)生產,量大從優(yōu)!

不銹鋼雙法蘭限位伸縮…
不銹鋼雙法蘭伸縮接頭是由本體、密封圈、壓蓋、伸縮短管等主要部件組成。在松套伸縮接頭原有性能的基礎上增設限位裝置,在最大伸縮量處用雙螺母鎖定。管道在允許的伸縮量中可以自由伸縮,一旦超…

可曲撓橡膠接頭
可曲撓橡膠接頭簡介可曲撓橡膠接頭又叫做橡膠管軟接頭、柔性橡膠接頭、橡膠軟接頭、橡膠接頭、高壓橡膠接頭、橡膠減震器、補償器等。按連接方式分松套法蘭式、固定法蘭式和螺紋式3種;按結構可分…

人防穿線密閉套管
穿線密閉套管說明:1、當迎水面為腐蝕性介質時,可采用封堵材料將縫隙封堵;2.套管穿墻處如遇非混凝土墻壁時,應局部改用混凝土墻壁,其澆注范圍應比翼環(huán)直徑(DS)大200,并且必須將套管一次澆固…






![{sdcms[webname]} {sdcms[webname]}](/skins/2009/dw/images/foot_logo.png)
微信